Unidades de iluminação de LED Acessórios para sistema de visão Série CA-D

Iluminação Baixo Ângulo LEDs opostos com baixo ângulo de incidência para fornecer iluminação de baixo ângulo
CA-DLR

Aplicação
Rachaduras de superfície/borda
Normalmente, defeitos em superfícies e bordas são difíceis de detectar com iluminação padrão, pois há pouca mudança no contraste. A luz de baixo ângulo destaca a mudança física no alvo, tornando possível a detecção.

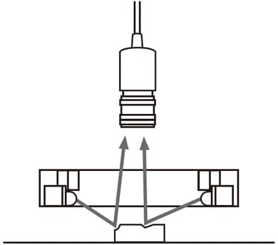
Técnicas de iluminação com luz de baixo ângulo
A iluminação de baixo ângulo fornece luz direta em um ângulo baixo em relação ao alvo. Normalmente, a inspeção da borda de um alvo ou de falhas físicas na superfície são difíceis de detectar com iluminação direta padrão. Como a direção da luz é quase paralela à superfície, qualquer alteração na altura da superfície causa deflexão no caminho normal da luz para a câmera e, subsequentemente, destaca a mudança.
Disposição da câmera/luz

Aplicação
Borda rachada
Com iluminação padrão

Com iluminação de baixo ângulo

Borda de garrafa não uniforme
Com iluminação padrão

Com iluminação de baixo ângulo

